一
近年来,经过酒驾入刑、限超令等法规的严格限制,交通安全事故在总量上已经形成了连续下降的趋势。但作为事故重灾区,货运领域面对的安全管理压力却越来越大,货运已经成为交通安全的最后一片“蛮荒之地”。
数据显示,我国载货汽车已经突破2944万辆的历史新高。从2013年到2020年,载货汽车占机动车总量的比例已经达到10.9%,由此带来了巨大的交通事故风险。目前,我国每年因车祸死亡的人数仍然超过5万,在这当中,货车事故造成的死亡人数超过了1/5,换言之,每天我们身边都有超过27个鲜活的生命因为“大祸车”逝去。
疲劳驾驶是货运安全最大的天敌,但解决这一难题却不容易。司机多跑一趟就能多一些收入,就算困了累了也轻易不会主动停车休息,如何对司机进行监管成了关键。近两年,随着AI在视觉识别方面的技术成熟,物流企业解决“大祸车”问题总算有了“给力”的工具。
国内领先的综合物流企业赤湾东方就是运用先进技术实现安全管理创新的代表。早在2018年,赤湾就早于同行,成为国内货运行业首家安装车载智能视频监控设备的企业。而经过2020一整年的创新调整,通过选用易流科技的“安全智驾”产品,赤湾再次取得了安全管理上的新突破,引领物流行业之先。
二
赤湾东方拥有国家AAAAA级物流企业资质,是国家多式联运示范工程项目牵头企业,也是中国最大的甩挂运输企业,其服务覆盖全国660个市、县,拥有运输车辆近2000辆。作为安全生产标准化建设一级企业,重视安全管理是他们的光荣传统。十几年前,赤湾就成为国内货运行业首家安装车载定位设备的企业,并且增加了GPS联动的拍照摄像头。每隔几小时,摄像头会对司机拍照,再通过GPS的2G网络回传。
时间推移,接连到来的3G和4G创造了辉煌的移动互联网时代,也为即时、稳定的货运视频监控打下了基础。2018年,逐步成熟的AI视觉识别带来了“智能”的新特性,此时的监控设备已经可以对司机的疲劳神态、抽烟打电话等分心动作进行自动判断,向司机发出警报的响应时间也缩短到秒级。相比2G时代,这样的监控设备已经是相当“聪明”了,但赤湾探索安全管理优化的脚步却远未停止。
使用中,他们发现设备判别风险的准确率还有待提高,统计结果限制90%以上的准确度其实仍然会有相当数量的错报、漏报。并且,千篇一律的机械式警报也逐渐对司机失去了影响力。在他们看来,智能设备为驾驶过程的数字化监管打开了新大门,而如果人工监管也能通过这扇门引进来,效果也许更好。
2018年,物流行业还普遍没有对新型的视频监控重视起来,在多数企业连车载监控的硬件设备都没有安装时,赤湾就领先两步设立了视频监管团队,希望借助24小时不间断的人工监控与干预,进一步降低事故发生的可能。
监管员观看回传视频然后判断具体风险,向其中的高危司机迅速发起车载设备的语音对讲或电话,监控效果在初期有明显变化,即便是那些对机器警报毫不重视的司机也会管理部的“问询”忌惮三分,毕竟这和自己的绩效考核有直接关系。
三
新的问题在几个月后出现了。司机驾驶的确更安全,但随着监管车辆的数量和风险事件类别的增加,安全监管团队却吃不消了。虽然团队最多的时候达到了11人,但要查看监管日均27000次的风险事件,依然非常吃力。
两年多后的现在,这成为了更多物流企业面对的困境:安全监管越来越重要,但需要投入的人力物力该如何有效控制?
为了寻找破局办法,2020年初,赤湾找到供应链物流行业领先的数字化服务运营商易流科技,共同探讨如何解决眼下的问题。彼时,赤湾的第一批车载监控设备已经使用近两年,已有的监控设备已经略显陈旧,制约了安全管理的持续优化。同时,加速增长的工作量让监控人员的工作压力越来越大,监管质量也因此出现了下滑。
硬件设备需要更新,监管难题需要解决,易流科技拿出了 “软硬服一体”的产品组合——安全智驾。安全智驾不仅提供了高准确率、高稳定性的车载监控硬件,还包含可以对数据进行智能分析的数字化管理平台“易流云”,同时在监管方面也能够提供专业的“安全E管家”服务。
安全智驾选用了行业内各项性能最优的车载视频终端和摄像头,并且基于以往海量的货运大数据和赤湾的业务特点,特别优化了风险预警和警报的算法逻辑,既保证在防范风险上“滴水不漏”,又不会因为错误警报过多而干扰司机的正常驾驶。2020年的统计显示,视频设备的风险识别准确率已经综合达到97%,错报、漏报的情况大幅减少。
去年11月,赤湾像往年一样迎来了双十一的业务暴涨,除了两千辆自有货车日夜兼程奔波在路上,还引入了上万台临时外协运力。在业务的高压下,赤湾不仅没有出现事故增加,反而最终实现了“零事故”的优异成绩。提到其中原因,其安全管理部总经理表示,易流提供的“安全E管家”托管服务功不可没。
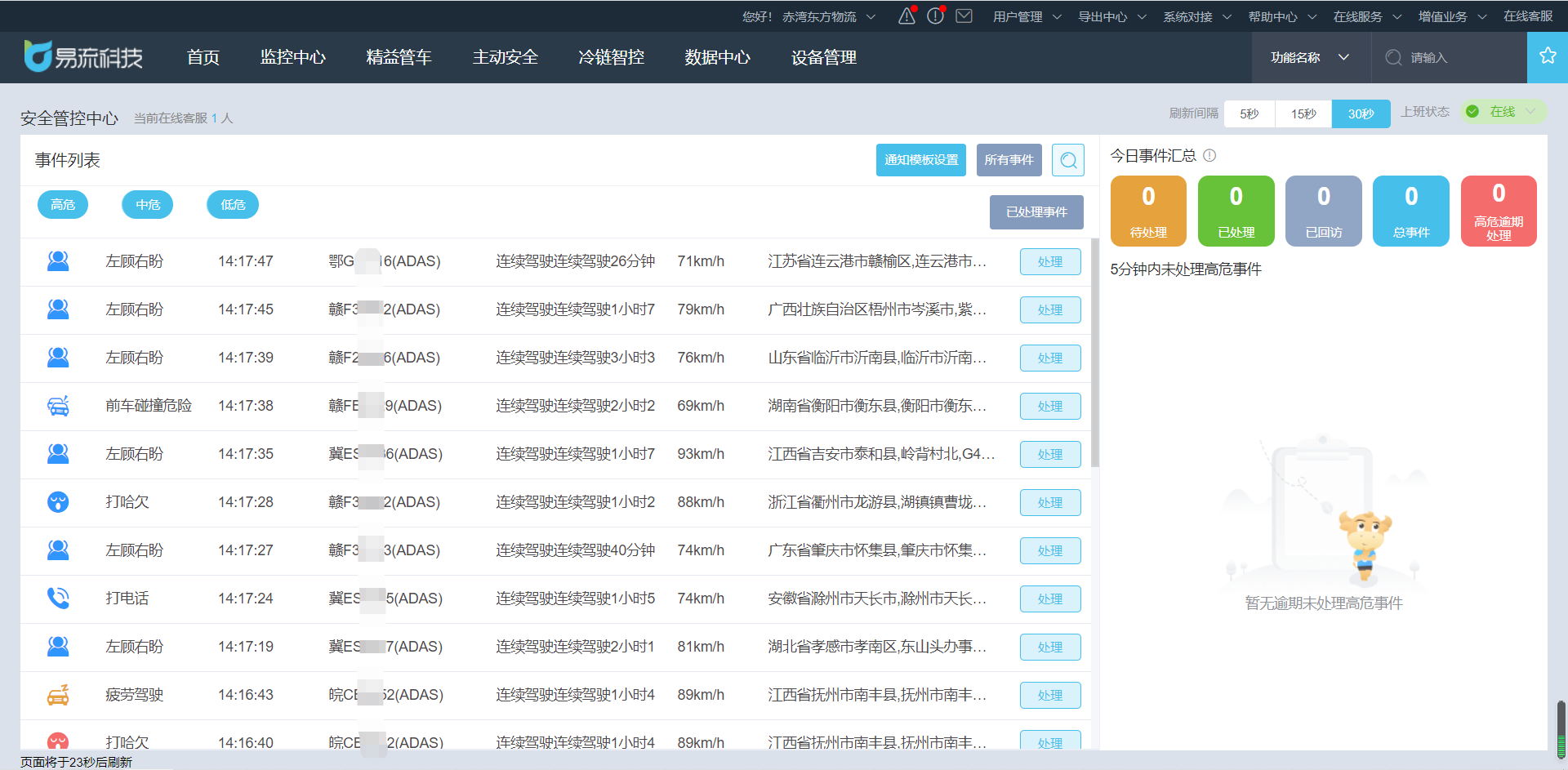
安全E管家是易流面向货运行业提供的公共监管服务,客服人员能够同时针对多家企业的货运车辆进行监管。双十一期间,E管家团队只抽调4人,就承担了赤湾监管团队8-10人的监管任务,有效地缓解了赤湾的安全监管压力。
E管家的高效监管,并非依靠“蛮力”加班,而是依靠数字化考核工具的“智取”。通过对在线时长、工作量、回访等数据的统计,监管员的工作可以量化地体现在考核指标中,对于需要回溯查看监控历史的风险事件,也能够查找到对应的监管责任人,这对于督促监管工作起到了至关重要的作用。有了这个工具,团队负责人虽然无法每时每刻督促监管员的工作,但考核数据就可以对监管员的工作给出科学公允的评价。
工具本身的开发难度并不高,但其中的考核指标却沉淀着易流客服团队多年的经验。作为物流数字化领域最早建立专业客服团队的企业,易流的监管考核工具与方法,越来越被赤湾这样的物流企业认可。
在数字化工具的加持下,赤湾监管团队将人数有效地缩减了一半,6人的规模大大降低了管理和人力成本。为了维持较少人数下的监管质量,赤湾还在易流云平台上对风险事件设置了智能分流,这项名为“云处理”的小功能可以按照企业安全画像,自动过滤、处理掉大多数的中低风险事件,日均需要处理的事件数因此从27000减少到8000个左右。其余的高风险事件经过机器人自动转发,赤湾监管团队也可以轻松地在微信或钉钉上获得即时提醒,对自身工作查漏补缺。
四
经过和易流的联手努力,2020年赤湾的百万产值事故宗数和百万产值事故损失双双取得了30%以上的降低,这不仅减少了车队的潜在损失,还让全年的车险赔付下降了22%以上。对于一年保费多达百万甚至千万级别的大型物流企业、车队而言,上一年的赔付降低,下一年就有更大的可能争取保费上的减免优惠,这是真金白银的收益,也是切实的降本增效。
在谈到从事货运安全管理多年的经验时,赤湾安全管理部总经理提到,“心中有爱”是最初的发心,也是一切管理优化的基石,只有真正把司机、车辆以及广大交通参与者的安危当做企业的管理目标,数字化的工具、管理体系的闭环才会拥有长期价值。
在飞驰的货车上,生死之别往往就发生在几秒间。要说对极端危险情况的响应和干预速度,机器一定比人快。本地记录、本地计算、本地警报,这就是车载视频终端和智能摄像头的天职。经历过危险瞬间的司机们都很感谢设备发出的警报,正是那几声警报让他们下意识地调整车辆行进,在几秒内和死神擦肩而过。
在飞驰的货车上,生死之别往往又不只发生在几秒间。危险程度较高的违规行为,例如严重疲劳甚至睡着,打电话、抽烟等,其实几分钟甚至十几分钟前,就已经有了预兆。当司机闭眼时间开始增加,频繁打呵欠,或者拿出了电话点上了烟的时候,机器的提醒就比不上人的提醒。通过电话或车载设备发起语音对讲,可以为避免事故起到很大作用。
人们都期待着挥手告别一切交通事故,但告别并不容易,除了要有赤湾东方对安全管理一以贯之的重视,也要有易流科技为行业提供的全方位一体化的新工具、新方法。心中有AI,AI是爱,也是人工智能,要让AI的能力发挥到最大,自然也需要“人工”+“智能”的有机结合,这也许就是数智化时代提升货运安全的基本逻辑。









